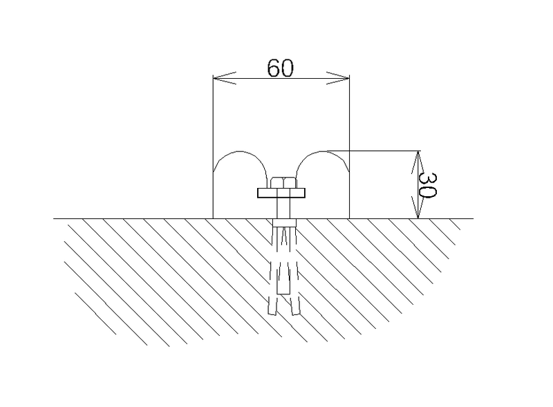
РП-60/30 - Резиновый отбойник
РП-60/30 - Резиновый отбойник В-образной формы (с алюминиевой монтажной полосой) для защиты стен от ударов.
Резиновый отбойник РП-60/30 из резинового профиля (с монтажной алюминиевой полосой для крепления). Задача отбойника - это защита стен от повреждений в местах, где автотранспорт может столкнуться или удариться в нее.
Грузовые терминалы, складские помещения, тоннели, паркинги и т.д. В момент удара с транспортным средством или автопогрузчиком, отбойник демпфирует и примет на себя силу удара, сберегая, тем самым, не только защищаемую поверхность, но и техническое средство.
Резиновый отбойник изготовлен из специальной резины, которая не подвержена воздействию ультрафиолета и различных погодных проявлений. В результате отбойник можно использовать не только внутри помещений, но и снаружи зданий в любое время года.
Устанавливается, стеновой отбойник, как отдельно, так и совместно с другими демпферными изделиями для увеличения защитной площади.
Резиновый профиль, обычно черного цвета, по желанию заказчика может быть изготовлен в другом цвете. Данный защитный отбойник избавит от незапланированных затрат на ремонт.
Применение
Для защиты стен в местах погрузки/разгрузки от повреждений грузовыми автомобилями на складах, терминалах, в магазинах, аэропортах, открытых и закрытых паркингах и любых других местах
Характеристики
- Артикул: РП-60/30
- Производитель: ООО «ГИДРО-ГАРАНТ» РФ
- Материал: Резина ЭПДМ/ТЭП
- Выпускаемая длина (п.м): 1. 5м, 2м, 3м
- В/Ш (мм.): 30/60 мм
- (Диаметр отверстия если есть): нет
- Цвет изделия - стандарт: черный
- Цвет светоотражающего элемента по желанию заказчика : желтый
- Способ крепления: дюбель-гвоздь через алюминиевую планку
- Количество отверстий под дюбель-гвоздь: 3 шт. на п.м.
- Упаковка: стрейч пленка
- Количество п.м. в упаковке: по запросу
Технические характеристики
- Стойкость к: ультрафиолету, осадкам, колебаниям температур, маслам и бензину
- Твердость по ШОР A в пределах: 75
- Температурный предел хрупкости: C, не ниже: -50
- Производится по ТУ – 5775-001-18023964-2013
Документация
- ТУ 5775-001-68186246-2011 «Изделия из эластомерных материалов ГидроКонтур»
- Сертификат соответствия ГОСТ Р №РОСС RU.АГ39.Н00007
- Экспертное заключение о соответствии продукции единым санитарно-эпидемиологическим и гигиеническим требованиям №86/13 от 28.10.2011
- Сертификат соответствия №НСОПБ.RU ПР019/2.Н.00234 требованиям НПБ 244-97 Пожарной безопасности
- Сертификат соответствия системе менеджмента качества ГОСТ ISO 9001-2011, разрешение на применение знака соответствия системы сертификации «СДС-СМ»
Хранение
Изделия следует хранить в закрытых помещениях при температуре до 30 °С, без воздействия деформирующих нагрузок, прямых солнечных лучей, защищенными от попадания на них нефтепродуктов и органических растворителей.

